г.Абакан, ул.Игарская, 5 (район "АЯН")+7-901-678-9999 +7-961-093-72-71 |
г.Абакан, ул.Фабричная, 25+7-901-678-0000 |
г.Минусинск, ул.Чайковского, 49+7-901-678-7777 8-(3913)-25-06-60 |
| ГЛАВНАЯ | АССОРТИМЕНТ | КАТАЛОГИ | ДОСТАВКА | КОНТАКТЫ |
|
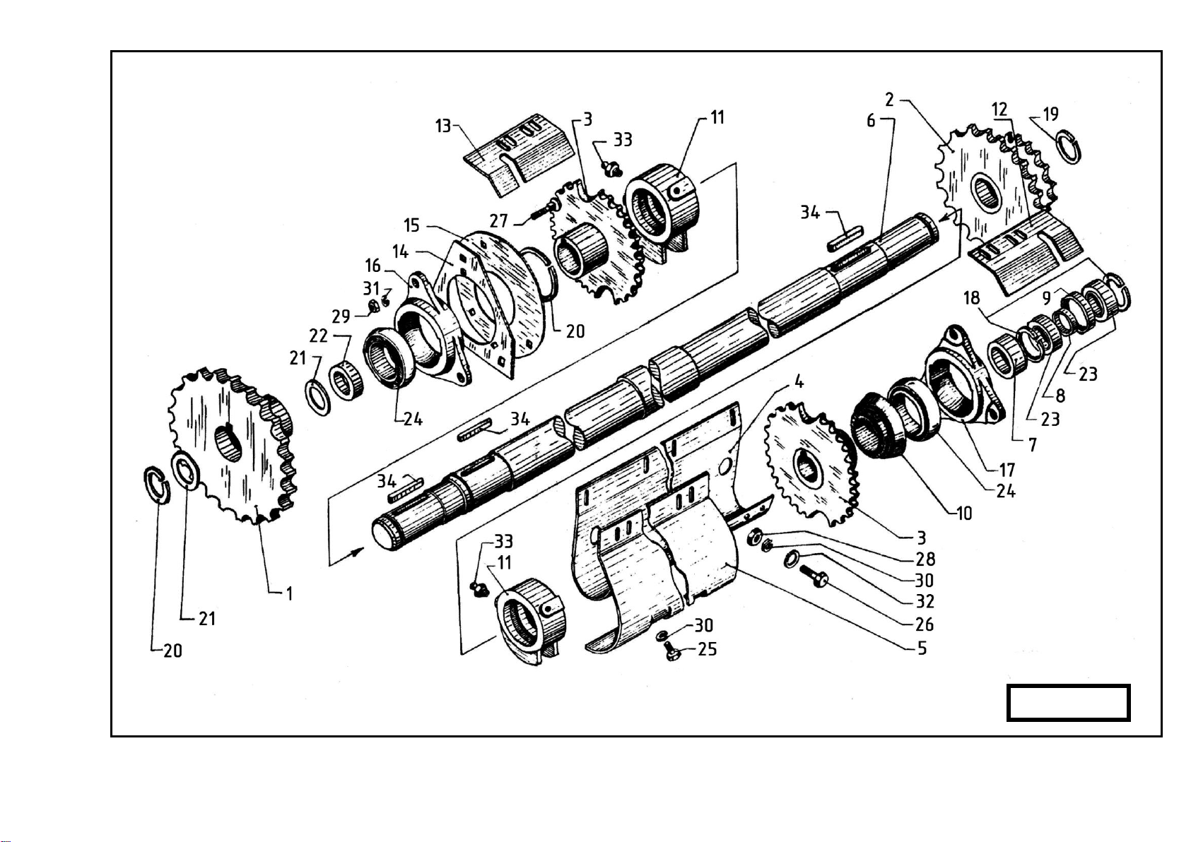
№ поз. |
Обозначение |
Наименование |
Количество |
Примечание |
|||
|---|---|---|---|---|---|---|---|
|
ПР-Ф-110 |
ПР-Ф-145 |
||||||
|
ПР-1,4.51.02.000 |
Вал ведущий |
||||||
|
1 |
ПР-1,4.02.02.020 |
Звездочка |
1 |
Z=23 |
|||
|
2 |
ПР-1,4.51.02.010 |
Блок звездочек |
1 |
Z1=20/Z2=28 |
|||
|
3 |
ПР-02.00.700 |
Звездочка |
2 |
Z=16 для ПР-1,8.17.00.000-02 |
|||
|
ПР-02.00.700 |
Звездочка |
2 |
для ПР-1,8.17.00.000-04 |
||||
|
4 |
ПР-1,4.02.00.401 |
Щиток |
1 |
||||
|
5 |
ПР-1,4.02.00.402 |
Чистик |
1 |
||||
|
6 |
ПР-1,4.51.02.601 |
Вал |
1 |
||||
|
7 |
ПР-1,4.51.02.801 |
Втулка |
1 |
||||
|
8 |
ПР-1,4.51.02.802 |
Кольцо |
1 |
||||
|
9 |
ПР-1,4.51.02.802-01 |
Кольцо |
1 |
||||
|
10 |
ПР 02.001 |
Втулка |
1 |
||||
|
11 |
ПР 02.103А |
Подшипник |
2 |
Или ПР 02.00.800 |
|||
|
12 |
ПР 02.463 |
Чистик |
1 |
||||
|
13 |
ПР 02.463-01 |
Чистик |
1 |
||||
|
14 |
ПР 02.473 |
Пластина |
1 |
||||
|
15 |
ПР 02.476 |
Пластина |
1 |
||||
|
16 |
ПР 02.628 |
Корпус подшипника |
1 |
||||
|
17 |
ПР 02.628-01 |
Корпус подшипника |
1 |
||||
|
18 |
ПР 07.00.431-02 |
Кольцо |
2 |
||||
|
19 |
ПР 11.00.401-02 |
Кольцо |
1 |
||||
|
20 |
ПР 11.00.401-03 |
Кольцо |
2 |
||||
|
21 |
ПРТ-10.02.415 |
Шайба специальная |
12 |
Наибольшее кол-во |
|||
|
22 |
ПРТ-7А.07.08.301-02 |
Кольцо |
1 |
||||
|
23 |
80209 |
Подшипник |
2 |
||||
|
24 |
1580211 |
Подшипник |
2 |
||||
|
25 |
М8х16 ГОСТ 7796 |
Болт |
4 |
||||
|
26 |
М8х25 ГОСТ 7802 |
Болт |
7 |
||||
|
27 |
М12х45 ГОСТ 7802 |
Болт |
3 |
||||
|
28 |
М8 ГОСТ 5915 |
Гайка |
7 |
||||
|
29 |
М12 ГОСТ 5915 |
Гайка |
3 |
||||
|
30 |
8.65Г ГОСТ 6402 |
Шайба |
11 |
||||
|
31 |
12.65Г ГОСТ 6402 |
Шайба |
3 |
||||
|
32 |
8 ГОСТ 11371 |
Шайба |
7 |
||||
|
33 |
1.2.Ц6 ГОСТ 19853 |
Масленка |
2 |
||||
|
34 |
2-16х10х45 ГОСТ 23360 |
Шпонка |
3 |
||||