. г.Абакан, ул.Игарская, 5 (район "АЯН")
+7-901-678-9999
+7-961-093-72-71
. г.Абакан, ул.Фабричная, 25
+7-901-678-0000

. г.Минусинск, ул.Чайковского, 49
+7-901-678-7777
8-(3913)-25-06-60

Каталог запчастей на трактор МТЗ-80, 82

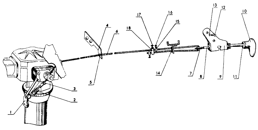
Управление блокировкой дифференциала

Трактор МТЗ-80, 82 - Управление блокировкой дифференциала

чертежный номер

название запчасти

-

70-4803010

Управление в сборе

1

70-4803018-Б

Кронштейн

2

70-4803019

Пружина

3

70-4803040

Трос управления

4

70-4803021

Кронштейн

5

70-4803022

Втулка

6

70-4803050

Трос управления

7

70-4803022

Втулка

8

70-4803013-Б

Тяга

9

70-4803070

Кронштейн

10

70-4803060

Рукоятка

11

Гайка М8.6Н.6.016 ГОСТ 5915-70

Гайка М8.6Н.6.016 ГОСТ 5915-70

12

Болт М6-6gх14.88.35.019 ГОСТ 7796-70

Болт М6-6gх14.88.35.019 ГОСТ 7796-70

13

Шайба 6.65Г.06 ГОСТ 6402-70

Шайба 6.65Г.06 ГОСТ 6402-70

14

70-4803022

Втулка

15

70-1310441

Фиксатор

16

Болт М4-6gх8.58.019 ГОСТ 17473-72

Болт М4-6gх8.58.019 ГОСТ 17473-72

17

Болт М5-6gх12.58.019 ГОСТ 17473-72

Болт М5-6gх12.58.019 ГОСТ 17473-72

18

70-4803023

Муфта

© Колхозник, 2021 .